📰 本频道不定期推送科技数码类新资讯,欢迎关注!
©️ 发布的内容不代表本频道立场,和你意见不一样的话欢迎在评论区留言表达,但请注意言辞,面斥不雅。
‼️ 关联群组定期清理不活跃成员和僵尸号,误封请联系管理员。
🔗 博客: https://yummy.best
💬 群组: @GodlyGroup
📬 投稿: @GodlyNewsBot
🪧 广告合作: @yummybest_bot.
©️ 发布的内容不代表本频道立场,和你意见不一样的话欢迎在评论区留言表达,但请注意言辞,面斥不雅。
‼️ 关联群组定期清理不活跃成员和僵尸号,误封请联系管理员。
🔗 博客: https://yummy.best
💬 群组: @GodlyGroup
📬 投稿: @GodlyNewsBot
🪧 广告合作: @yummybest_bot.
巴西将对中国公民免签
当地时间1月23日,巴西总统卢拉宣布,巴西将对中国公民部分短期签证类别实行免签,以回应中国自2025年起对巴西公民实施的免签政策。政策实施日期有待公布。
巴西总统府发布声明称,在中国与拉美以及其他国家关系日渐密切的背景下,此举旨在促进中国与拉美及其他地区之间的人员往来。
🗒 标签: #签证 #免签
📢 频道: @GodlyNews1
🤖 投稿: @GodlyNewsBot
当地时间1月23日,巴西总统卢拉宣布,巴西将对中国公民部分短期签证类别实行免签,以回应中国自2025年起对巴西公民实施的免签政策。政策实施日期有待公布。
巴西总统府发布声明称,在中国与拉美以及其他国家关系日渐密切的背景下,此举旨在促进中国与拉美及其他地区之间的人员往来。
最先提出这一创意的是瑞士网友泽维尔·杜瓦特。“丹麦化运动”的运营团队表示,他们希望用这一滑稽的方式凸显美国威胁夺取格陵兰岛的荒谬。
该网站以戏谑的口吻“论证”了丹麦购买加州的原因,包括充足的阳光、在科技上的统治力、盛产牛油果等。网站还戏称,可以将加州的迪士尼乐园改名为“安徒生乐园”,给米老鼠戴上维京头盔。
网页称,丹麦将向美国开出1万亿美元的报价,加州被丹麦“购买”后,此地将更名为“新丹麦”,当地民众可获得法治、免费医疗和靠谱的政治决策。
联署发起者称,他们的目标是争取获得50万人在线联署签名。截至北京时间25日,已有超过29万人次参与了联署。
有标准版和卫星通信版两个版本,型号分别是PLP110和PLP120,支持80W有线充电。
据悉,OPPO Find N6屏幕尺寸跟上代保持一致,内屏尺寸是8.12英寸,外屏尺寸是6.62英寸,大屏9.9:9比例,接近正方形。搭载骁龙8E5,是行业内第一款骁龙8E5大折叠旗舰。
此外,Find N5还配备6000mAh大电池,后置2亿像素镜头,支持AI手写笔,重量在225g左右。
有博主爆料称OPPO Find N5折痕做到了行业最浅,至少在未来半年时间里,OPPO Find N5折痕都是行业最浅的存在。
该机将在春节后亮相。
via 𝒁𝒊𝑹𝑪𝑶𝑵
据澎湃新闻,1 月 24 日下午,AI 芯片龙头英伟达 CEO 黄仁勋现身上海陆家嘴街道乳山路锦德菜市场,晚上将参加英伟达上海年会。这是黄仁勋今年首度来华,他于 23 日下午到达上海,首站到访英伟达位于上海张江的新办公室。
该公司称订单取消是由于“系统错误”导致
多名 Reddit 用户反映索泰似乎普遍上调了部分高端显卡的价格。一位用户在 r/pcgaming 称多款 Zotac RTX 5090 的价格至少涨了 500 美元,另一位在 r/buildapcsales 说官方建议零售价(MSRP)上涨了 200 美元或更多。
在对比价格追踪器后发现,虽然并非所有型号都出现了所称的 200 美元大幅上涨,但确实有几款 Zotac GPU 的建议零售价被提高了。
该公司尚未就所谓的涨价发布官方声明,但这与因显存持续短缺导致的显卡价格上涨趋势一致。
有一位 Reddit 用户报告说,他们的索泰GPU 订单在涨价前夕被取消,公司称这是“系统错误”。遗憾的是,该用户并未更新是否已联系索泰,或索泰是否打算采取补救措施。
类似情况也发生在 Corsair(美商海盜船),当时它因定价错误取消了几笔标价 240 美元的 48GB DDR5 内存订单,造成了公关问题。Corsair 为受影响的顾客提供了一次未来内存购买的六折优惠券作为补偿。
同样是Corsair :有玩家在元旦下单买了一台标价 3,499 美元的整机,结果第二天订单被取消,价格被上调到 4,299 美元。幸好一位 Corsair 客服看到帖子后,发了张优惠券给这位玩家,让他仍能以原来的促销价买到那台电脑。
一些 Gmail 用户发现,原本会被放到“促销”或其他标签的邮件,开始大量出现在收件箱里。
有人在 Google 论坛和 Reddit 上反映,邮件绕过了“更新”和“促销”过滤器,直接进入收件箱。还有用户看到某些邮件顶部出现提示横幅,写着“对这封邮件要小心”,说明该邮件尚未被完全扫描以检测垃圾邮件或恶意软件。
谷歌在 Workspace 状态仪表板上发布公告,确认出现了这个问题:
"Gmail 用户可能会看到提示缺少垃圾邮件检查的横幅。我们自 2026-01-24(美西时间)05:02 起发现 Gmail 出现问题。受影响的用户可能会看到一条横幅提示:\"请谨慎处理此邮件。Gmail 未对该邮件进行垃圾邮件、未验证发件人或有害软件的扫描。\"在此期间,我们建议用户对邮件保持更高警惕。工程团队正在调查此问题,我们将在 2026-01-24(美西时间)09:30 发布最新进展。"
Campos 也可能让 Apple 放弃其 Spotlight 功能。
据知情人士透露,这款代号为 Campos 的聊天机器人将深度嵌入 iPhone、iPad 和 Mac 操作系统,取代现有的 Siri 界面。用户将能以目前打开 Siri 的相同方式唤起这项新服务——说出“Siri”命令或长按 iPhone 或 iPad 的侧边按钮。
据知情人士透露,聊天机器人功能将于今年晚些时候推出。这些人士要求匿名,因为相关计划尚属机密。公司计划在六月的全球开发者大会上公布该技术,并在九月发布。
Campos 将支持语音和文字两种模式,成为 Apple 即将发布的操作系统中的主要新增功能。公司正将其集成到代号为 Rave 的 iOS 27 和 iPadOS 27,以及内部称为 Fizz 的 macOS 27 中。
除聊天机器人界面外,今年这些操作系统不会有大变化。Apple 更专注于提升性能和修复漏洞。
这一计划中的产品旨在分析打开的窗口和屏幕内容,以便执行操作并建议命令。它还将能够控制设备功能和设置,允许其拨打电话、设置计时器并启动相机。
用户可以用它在网上搜索信息、创建内容、生成图像、总结信息并分析上传的文件。它还将利用个人数据来完成任务,更容易定位特定文件、歌曲、日历事件和短信。
更重要的是,Siri 将被整合进公司的所有核心应用,包括邮件、音乐、播客、电视、Xcode 编程软件和照片等。这将使用户仅凭语音就能完成更多操作。例如,用户可以要求 Siri 根据对图片内容的描述查找照片,并按照特定偏好进行编辑——如裁剪和颜色调整。或者用户可以在邮件应用中让 Siri 帮忙写一封关于即将到来的日程安排的邮件给朋友。
微软向《福布斯》确认,若收到合法有效的司法命令,会提供 BitLocker 恢复密钥。
微软在一宗联邦调查中向美国联邦调查局(FBI)提供了三台笔记本电脑硬盘的BitLocker恢复密钥,用于解锁其中加密的数据。 相关案件涉及多名嫌疑人,他们被指控在美国太平洋岛屿关岛参与与疫情失业援助(Pandemic Unemployment Assistance)项目相关的诈骗行为。
用户可以把这些密钥保存在自己的设备上,但微软也建议 BitLocker 用户为方便起见将密钥保存在微软的服务器上。这样一来,如果用户忘记密码或多次输错密码导致设备被锁,仍然可以找回数据;但同时,这也让这些密钥可能被执法机构通过传票或搜查令获取,带来隐私风险。
微软发言人表示,公司每年大约会收到 20 起请求要求提供 BitLocker 密钥,但很多情况下用户并没有把密钥存到云端,因此微软无法帮忙。
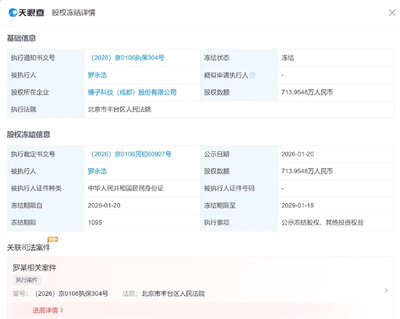
1月22日,天眼查信息显示,1月20日,罗永浩新增一则股权冻结信息,股权所在企业为锤子科技(成都)股份有限公司,冻结股权数额713万余元,冻结期限自2026年1月20日至2029年1月19日,执行法院为北京市丰台区人民法院。
via 𝒁𝒊𝑹𝑪𝑶𝑵
类似于新设备登录的提醒。
此前,缺乏通知会带来潜在的安全风险:不法分子可能会悄悄将自己的访问密钥添加到他人的账户中。
系统消息包含以下信息:
• Passkey 提供商(例如:
• 设备详情:应用版本、手机型号和操作系统。
• 添加密钥的位置。
• 检查活跃会话的指南。
重要安全注意事项:
• 通过“设置 › 设备”结束所有活跃会话后,新创建的访问密钥会自动随会话一起删除,同时会收到删除通知。
• 仅能在授权后 24 小时内添加安全密钥。
育碧官方发布了一份文件,公布了组织架构的重大重组。
新的运营模式将以5家创意工作室(Creative House)为核心,以期重新实现可持续增长。这轮调整除了发布新的路线图,还包括不少加速降本的举措,以及育碧将取消和延期多个项目,并关闭部分工作室。
文件显示,5个创意工作室中Vantage Studios已经成立,剩下4家创意工作室在文件中以数字标识。这5家创意工作室将各自负责一些细分方向、IP品牌和子工作室,并自负盈亏:
1号创意工作室,也就是Vantage Studios,专注于发展育碧麾下的重要IP,包括《刺客信条》《孤岛惊魂》《彩虹六号》;
2号创意工作室主攻竞技、合作射击项目,包括《全境封锁》《幽灵行动》《细胞分裂》;
3号创意工作室负责运营在线服务型项目,包括《荣耀战魂》《飙酷车神》《极限国度》《英灵乱战》《碧海黑帆》;
4号创意工作室主要创作沉浸式奇幻世界和剧情驱动项目,包括《纪元》《魔法门》《雷曼》《波斯王子》《超越善恶》;
5号创意工作室专注休闲及合家欢项目,包括《舞力全开》《采矿大亨》《饥饿鲨》《无敌少侠:守护地球》、Ketchapp、UNO、孩之宝。
新的架构将在今年4月上旬开始运营。育碧CFO弗雷德里克·杜盖在接受Gameindustry.biz采访时声称这是一次重大重启,希望这些创意工作室“在所处的每个细分领域都成为世界最佳”。
此轮调整还宣布了4个在研的新IP,但延期了7款游戏、取消了6个项目,取消的项目中包括了命途多舛的《波斯王子:时之沙》重制版。
而在育碧公布组织架构调整后,资本市场并不买账,反响消极。今日截至撰稿,育碧股价单日下跌超过30%,降至4.36欧元,市值为5.87亿欧元。这一股价远低于育碧2018年100欧元的历史顶点。
北京穿越者载人航天科技有限公司 1 月 22 日举行“下一站,太空:穿越者太空旅游全球发布会”,公布了其商业载人航天产品线规划,最早 2028 年载人首飞。
据穿越者此前消息,穿越者已开启船票预售,预售船票 300 万元 / 张,预付 10% 可锁定名额,目前已签约来自学界、商界、航天界、艺术界、娱乐界、网红界等领域的十余位付费太空游客。
首批穿越者太空游客已在发布会亮相:
• 101 号太空游客邱恒(智元机器人 CMO)
• 203 号太空游客谢萌(广州正佳集团 CEO)
• 304 号太空游客洪少淮(华侨企业家)
• 405 号太空游客岳路平(艺术家)
• 507 号太空游客刘百奇(星河动力 CEO)
• 608 号太空游客林小颜(旅美诗人林小颜)
• 709 号太空游客黄景瑜(演员)
• 810 号太空游客李立浧(中国工程院院士)
• 911 号太空游客金建荣(博主 @NASA爱好者)
• 1012 号太空游客王静(探路者品牌创始人)
• 1114 号太空游客李泽奇(成都富江工业创始人)
• 1215 号太空游客傅哲宽(启赋资本董事长)
• 1316 号太空游客小擎(众擎机器人 PM01)
https://www.whitehouse.gov/articles/2026/01/365-wins-in-365-days-president-trumps-return-marks-new-era-of-success-prosperity/
影响范围:Gemini API 及Google AI Studio
马斯克:特斯拉将在今年底、或明年向公众销售人形机器人
马斯克在达沃斯世界经济论坛表示:特斯拉将在2026年年底、或2027年向公众出售人形机器人Optimus。
人形机器人将在今年处理更加复杂的任务。
我们希望,今年证明星舰(Starship)完整的可重复使用性。
在太空部署光伏(发电支持的)AI数据中心“是稳赚不赔的买卖(no brainer)”。
最近2-3年,最廉价的部署AI目的地是在太空。
🗒 标签: #马斯克 #特斯拉
📢 频道: @GodlyNews1
🤖 投稿: @GodlyNewsBot
马斯克在达沃斯世界经济论坛表示:特斯拉将在2026年年底、或2027年向公众出售人形机器人Optimus。
人形机器人将在今年处理更加复杂的任务。
我们希望,今年证明星舰(Starship)完整的可重复使用性。
在太空部署光伏(发电支持的)AI数据中心“是稳赚不赔的买卖(no brainer)”。
最近2-3年,最廉价的部署AI目的地是在太空。
该诉状在迈阿密-戴德县州法院提交,指控该银行犯有商业诽谤和违反善意与公平交易的默示契约。诉状还称戴蒙违反了佛罗里达州的不公平与欺骗性贸易行为法。摩根大通并未立即回电置评。
苹果计划将Siri重塑为内置聊天机器人,以反击OpenAI
苹果公司计划在今年晚些时候对 Siri 进行重大改组,将其转型为公司首款人工智能聊天机器人,项目代号为“Campos”。
该机器人将深度嵌入 iPhone、iPad 和 Mac 操作系统中,并取代现有的 Siri 界面。
用户依然可以通过语音指令“Siri”或长按设备侧边键来唤醒这项新服务。
这种新方案的能力将远超目前的 Siri,其功能包括:分析屏幕内容、调用个人数据、搜索网页、创作内容、生成图像、总结信息以及分析上传的文件。
🗒 标签: #Apple #Siri
📢 频道: @GodlyNews1
🤖 投稿: @GodlyNewsBot
苹果公司计划在今年晚些时候对 Siri 进行重大改组,将其转型为公司首款人工智能聊天机器人,项目代号为“Campos”。
该机器人将深度嵌入 iPhone、iPad 和 Mac 操作系统中,并取代现有的 Siri 界面。
用户依然可以通过语音指令“Siri”或长按设备侧边键来唤醒这项新服务。
这种新方案的能力将远超目前的 Siri,其功能包括:分析屏幕内容、调用个人数据、搜索网页、创作内容、生成图像、总结信息以及分析上传的文件。
特朗普称与北约达成格陵兰协议“框架”、暂不对欧加关税,美股拉升,白银跳水
美东时间21日周三,特朗普宣布,已与北约秘书长吕特就格陵兰岛问题达成协议框架,由此暂缓始于2月1日生效的对欧洲国家加征计划。据新华社报道,特朗普在瑞士达沃斯与吕特会晤后称,暂时不会按原定计划向反对美国得到格陵兰岛的欧洲八国加征关税。
特朗普在社交媒体上发文表示,基于与吕特“非常富有成效的会晤”,双方已就格陵兰岛乃至整个北极地区形成了“未来协议框架”。他称这一解决方案如果最终达成,将对美国和所有北约国家“都大有裨益”。
🗒 标签: #格陵兰岛
📢 频道: @GodlyNews1
🤖 投稿: @GodlyNewsBot
美东时间21日周三,特朗普宣布,已与北约秘书长吕特就格陵兰岛问题达成协议框架,由此暂缓始于2月1日生效的对欧洲国家加征计划。据新华社报道,特朗普在瑞士达沃斯与吕特会晤后称,暂时不会按原定计划向反对美国得到格陵兰岛的欧洲八国加征关税。
特朗普在社交媒体上发文表示,基于与吕特“非常富有成效的会晤”,双方已就格陵兰岛乃至整个北极地区形成了“未来协议框架”。他称这一解决方案如果最终达成,将对美国和所有北约国家“都大有裨益”。