📰 本频道不定期推送科技数码类新资讯,欢迎关注!

©️ 发布的内容不代表本频道立场,和你意见不一样的话欢迎在评论区留言表达,但请注意言辞,面斥不雅。

‼️ 关联群组定期清理不活跃成员和僵尸号,误封请联系管理员。

🔗 博客: https://yummy.best
💬 群组: @GodlyGroup
📬 投稿: @GodlyNewsBot
🪧 广告合作: @yummybest_bot.
彩虹六号国服正式定名《彩虹六号:攻势》

🗒 标签: #彩虹六号 #R6
📢 频道: @GodlyNews1
🤖 投稿: @GodlyNewsBot
宇树科技官宣成为2026年春晚机器人合作伙伴。

🗒 标签: #宇树科技 #春晚
📢 频道: @GodlyNews1
🤖 投稿: @GodlyNewsBot
腾讯元宝内测“元宝派”,探索社交AI新形态

1月26日,腾讯旗下AI助手元宝低调开启全新社交AI玩法“元宝派”内测。从目前流出的内测截图来看,用户可以选择创建一个“派”,或者加入一个已有的“派”。用户可以在派内@元宝 或引用元宝的话,让元宝AI总结派内聊天、创建健身、阅读等兴趣打卡活动,由元宝AI担任“监督员”。不止文字聊天,用户还可以在派内进行“图片二创”,将一张普通的照片变成有趣的“梗图”或表情包,在共同创作中激发乐趣。

据网传截图,元宝派后续公测还将开放上线“一起看”、“一起听”玩法,该玩法接⼊了腾讯会议的⾳视频底层能⼒,让⽤户可以邀请派内好友同步观看一部电影、一场比赛、听一首歌。

🗒 标签: #腾讯 #元宝
📢 频道: @GodlyNews1
🤖 投稿: @GodlyNewsBot
巴西将对中国公民免签

当地时间1月23日,巴西总统卢拉宣布,巴西将对中国公民部分短期签证类别实行免签,以回应中国自2025年起对巴西公民实施的免签政策。政策实施日期有待公布。

巴西总统府发布声明称,在中国与拉美以及其他国家关系日渐密切的背景下,此举旨在促进中国与拉美及其他地区之间的人员往来。

🗒 标签: #签证 #免签
📢 频道: @GodlyNews1
🤖 投稿: @GodlyNewsBot
丹麦网友发起请愿,1万亿买下美国加州,29万人签署

最先提出这一创意的是瑞士网友泽维尔·杜瓦特。“丹麦化运动”的运营团队表示,他们希望用这一滑稽的方式凸显美国威胁夺取格陵兰岛的荒谬。

该网站以戏谑的口吻“论证”了丹麦购买加州的原因,包括充足的阳光、在科技上的统治力、盛产牛油果等。网站还戏称,可以将加州的迪士尼乐园改名为“安徒生乐园”,给米老鼠戴上维京头盔

网页称,丹麦将向美国开出1万亿美元的报价,加州被丹麦“购买”后,此地将更名为“新丹麦”,当地民众可获得法治、免费医疗和靠谱的政治决策。

联署发起者称,他们的目标是争取获得50万人在线联署签名。截至北京时间25日,已有超过29万人次参与了联署。

🗒 标签: #格陵兰岛 #丹麦
📢 频道: @GodlyNews1
🤖 投稿: @GodlyNewsBot
OPPO折叠屏Find N6正式获得3C认证,首款骁龙8E5大折叠旗舰来了

有标准版和卫星通信版两个版本,型号分别是PLP110和PLP120,支持80W有线充电。


据悉,OPPO Find N6屏幕尺寸跟上代保持一致,内屏尺寸是8.12英寸,外屏尺寸是6.62英寸,大屏9.9:9比例,接近正方形。搭载骁龙8E5,是行业内第一款骁龙8E5大折叠旗舰。

此外,Find N5还配备6000mAh大电池,后置2亿像素镜头,支持AI手写笔,重量在225g左右。

有博主爆料称OPPO Find N5折痕做到了行业最浅,至少在未来半年时间里,OPPO Find N5折痕都是行业最浅的存在。

该机将在春节后亮相。

via 𝒁𝒊𝑹𝑪𝑶𝑵

🗒 标签: #OPPO
📢 频道: @GodlyNews1
🤖 投稿: @GodlyNewsBot
黄仁勋现身上海陆家嘴街道菜市场

据澎湃新闻,1 月 24 日下午,AI 芯片龙头英伟达 CEO 黄仁勋现身上海陆家嘴街道乳山路锦德菜市场,晚上将参加英伟达上海年会。这是黄仁勋今年首度来华,他于 23 日下午到达上海,首站到访英伟达位于上海张江的新办公室。

🗒 标签: #英伟达 #黄仁勋
📢 频道: @GodlyNews1
🤖 投稿: @GodlyNewsBot
据报道,索泰取消了客户的显卡订单,并将建议零售价上调了至少 200 美元

该公司称订单取消是由于“系统错误”导致


多名 Reddit 用户反映索泰似乎普遍上调了部分高端显卡的价格。一位用户在 r/pcgaming 称多款 Zotac RTX 5090 的价格至少涨了 500 美元,另一位在 r/buildapcsales 说官方建议零售价(MSRP)上涨了 200 美元或更多。

在对比价格追踪器后发现,虽然并非所有型号都出现了所称的 200 美元大幅上涨,但确实有几款 Zotac GPU 的建议零售价被提高了。

该公司尚未就所谓的涨价发布官方声明,但这与因显存持续短缺导致的显卡价格上涨趋势一致。

有一位 Reddit 用户报告说,他们的索泰GPU 订单在涨价前夕被取消,公司称这是“系统错误”。遗憾的是,该用户并未更新是否已联系索泰,或索泰是否打算采取补救措施。

类似情况也发生在 Corsair(美商海盜船),当时它因定价错误取消了几笔标价 240 美元的 48GB DDR5 内存订单,造成了公关问题。Corsair 为受影响的顾客提供了一次未来内存购买的六折优惠券作为补偿。

同样是Corsair :有玩家在元旦下单买了一台标价 3,499 美元的整机,结果第二天订单被取消,价格被上调到 4,299 美元。幸好一位 Corsair 客服看到帖子后,发了张优惠券给这位玩家,让他仍能以原来的促销价买到那台电脑。


🗒 标签: #索泰
📢 频道: @GodlyNews1
🤖 投稿: @GodlyNewsBot
Gmail 的垃圾邮件过滤和自动分类功能出现故障

一些 Gmail 用户发现,原本会被放到“促销”或其他标签的邮件,开始大量出现在收件箱里。


有人在 Google 论坛和 Reddit 上反映,邮件绕过了“更新”和“促销”过滤器,直接进入收件箱。还有用户看到某些邮件顶部出现提示横幅,写着“对这封邮件要小心”,说明该邮件尚未被完全扫描以检测垃圾邮件或恶意软件。

谷歌在 Workspace 状态仪表板上发布公告,确认出现了这个问题:
"Gmail 用户可能会看到提示缺少垃圾邮件检查的横幅。我们自 2026-01-24(美西时间)05:02 起发现 Gmail 出现问题。受影响的用户可能会看到一条横幅提示:\"请谨慎处理此邮件。Gmail 未对该邮件进行垃圾邮件、未验证发件人或有害软件的扫描。\"在此期间,我们建议用户对邮件保持更高警惕。工程团队正在调查此问题,我们将在 2026-01-24(美西时间)09:30 发布最新进展。"


🗒 标签: #Google #Gmail
📢 频道: @GodlyNews1
🤖 投稿: @GodlyNewsBot
改造版Siri将于iOS 27推出,代号 Campos

Campos 也可能让 Apple 放弃其 Spotlight 功能。


据知情人士透露,这款代号为 Campos 的聊天机器人将深度嵌入 iPhone、iPad 和 Mac 操作系统,取代现有的 Siri 界面。用户将能以目前打开 Siri 的相同方式唤起这项新服务——说出“Siri”命令或长按 iPhone 或 iPad 的侧边按钮。

据知情人士透露,聊天机器人功能将于今年晚些时候推出。这些人士要求匿名,因为相关计划尚属机密。公司计划在六月的全球开发者大会上公布该技术,并在九月发布。

Campos 将支持语音和文字两种模式,成为 Apple 即将发布的操作系统中的主要新增功能。公司正将其集成到代号为 Rave 的 iOS 27 和 iPadOS 27,以及内部称为 Fizz 的 macOS 27 中。

除聊天机器人界面外,今年这些操作系统不会有大变化。Apple 更专注于提升性能和修复漏洞。

这一计划中的产品旨在分析打开的窗口和屏幕内容,以便执行操作并建议命令。它还将能够控制设备功能和设置,允许其拨打电话、设置计时器并启动相机。

用户可以用它在网上搜索信息、创建内容、生成图像、总结信息并分析上传的文件。它还将利用个人数据来完成任务,更容易定位特定文件、歌曲、日历事件和短信。

更重要的是,Siri 将被整合进公司的所有核心应用,包括邮件、音乐、播客、电视、Xcode 编程软件和照片等。这将使用户仅凭语音就能完成更多操作。例如,用户可以要求 Siri 根据对图片内容的描述查找照片,并按照特定偏好进行编辑——如裁剪和颜色调整。或者用户可以在邮件应用中让 Siri 帮忙写一封关于即将到来的日程安排的邮件给朋友。


🗒 标签: #Apple #Siri #Campos
📢 频道: @GodlyNews1
🤖 投稿: @GodlyNewsBot
消息称微软向FBI提供了一组BitLocker加密密钥,用于解锁嫌疑人的笔记本电脑

微软向《福布斯》确认,若收到合法有效的司法命令,会提供 BitLocker 恢复密钥。


微软在一宗联邦调查中向美国联邦调查局(FBI)提供了三台笔记本电脑硬盘的BitLocker恢复密钥,用于解锁其中加密的数据。 相关案件涉及多名嫌疑人,他们被指控在美国太平洋岛屿关岛参与与疫情失业援助(Pandemic Unemployment Assistance)项目相关的诈骗行为。

用户可以把这些密钥保存在自己的设备上,但微软也建议 BitLocker 用户为方便起见将密钥保存在微软的服务器上。这样一来,如果用户忘记密码或多次输错密码导致设备被锁,仍然可以找回数据;但同时,这也让这些密钥可能被执法机构通过传票或搜查令获取,带来隐私风险。

微软发言人表示,公司每年大约会收到 20 起请求要求提供 BitLocker 密钥,但很多情况下用户并没有把密钥存到云端,因此微软无法帮忙。

🗒 标签: #微软 #BitLocker
📢 频道: @GodlyNews1
🤖 投稿: @GodlyNewsBot
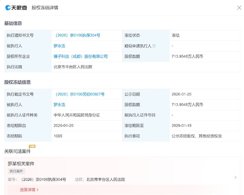
锤子科技713万元股权被冻结

1月22日,天眼查信息显示,1月20日,罗永浩新增一则股权冻结信息,股权所在企业为锤子科技(成都)股份有限公司,冻结股权数额713万余元,冻结期限自2026年1月20日至2029年1月19日,执行法院为北京市丰台区人民法院。

via 𝒁𝒊𝑹𝑪𝑶𝑵

🗒 标签: #锤子科技 #罗永浩
📢 频道: @GodlyNews1
🤖 投稿: @GodlyNewsBot
Yummy 😋
Telegram 正式推广Passkey登陆 你可以在“设置-隐私与安全“内找到Passkey选项,并开启。 目前,iOS端应用已经可以看到该选项,macOS端尚未出现该选项。 群友补充,Google Play商店版以及Windows也已支持。 若遇到创建Passkey失败,请尝试清理缓存,再重试 iOS: 连续点击设置(底部选项栏头像处)10次,找到并点击 “Clear Database and Cache” Android: settings -- Data and Storage -- Storage…
现在起,删除和添加Passkey时将在所有已授权Telegram客户端收到通知

类似于新设备登录的提醒。


此前,缺乏通知会带来潜在的安全风险:不法分子可能会悄悄将自己的访问密钥添加到他人的账户中。

系统消息包含以下信息:

• Passkey 提供商(例如:🔒 Apple Passwords)。
• 设备详情:应用版本、手机型号和操作系统。
• 添加密钥的位置。
• 检查活跃会话的指南。

重要安全注意事项:

• 通过“设置 › 设备”结束所有活跃会话后,新创建的访问密钥会自动随会话一起删除,同时会收到删除通知。
• 仅能在授权后 24 小时内添加安全密钥。

🗒 标签: #Telegram #Passkey
📢 频道: @GodlyNews1
🤖 投稿: @GodlyNewsBot
育碧重大重组,但股价再创新低

育碧官方发布了一份文件,公布了组织架构的重大重组。

新的运营模式将以5家创意工作室(Creative House)为核心,以期重新实现可持续增长。这轮调整除了发布新的路线图,还包括不少加速降本的举措,以及育碧将取消和延期多个项目,并关闭部分工作室。

文件显示,5个创意工作室中Vantage Studios已经成立,剩下4家创意工作室在文件中以数字标识。这5家创意工作室将各自负责一些细分方向、IP品牌和子工作室,并自负盈亏:
1号创意工作室,也就是Vantage Studios,专注于发展育碧麾下的重要IP,包括《刺客信条》《孤岛惊魂》《彩虹六号》;

2号创意工作室主攻竞技、合作射击项目,包括《全境封锁》《幽灵行动》《细胞分裂》;

3号创意工作室负责运营在线服务型项目,包括《荣耀战魂》《飙酷车神》《极限国度》《英灵乱战》《碧海黑帆》;

4号创意工作室主要创作沉浸式奇幻世界和剧情驱动项目,包括《纪元》《魔法门》《雷曼》《波斯王子》《超越善恶》;

5号创意工作室专注休闲及合家欢项目,包括《舞力全开》《采矿大亨》《饥饿鲨》《无敌少侠:守护地球》、Ketchapp、UNO、孩之宝。


新的架构将在今年4月上旬开始运营。育碧CFO弗雷德里克·杜盖在接受Gameindustry.biz采访时声称这是一次重大重启,希望这些创意工作室“在所处的每个细分领域都成为世界最佳”。

此轮调整还宣布了4个在研的新IP,但延期了7款游戏、取消了6个项目,取消的项目中包括了命途多舛的《波斯王子:时之沙》重制版。

而在育碧公布组织架构调整后,资本市场并不买账,反响消极。今日截至撰稿,育碧股价单日下跌超过30%,降至4.36欧元,市值为5.87亿欧元。这一股价远低于育碧2018年100欧元的历史顶点。

🗒 标签: #育碧 #重组
📢 频道: @GodlyNews1
🤖 投稿: @GodlyNewsBot
穿越者商业载人航天首批太空游客身份揭晓:预售船票 300 万元 / 张

北京穿越者载人航天科技有限公司 1 月 22 日举行“下一站,太空:穿越者太空旅游全球发布会”,公布了其商业载人航天产品线规划,最早 2028 年载人首飞。

据穿越者此前消息,穿越者已开启船票预售,预售船票 300 万元 / 张,预付 10% 可锁定名额,目前已签约来自学界、商界、航天界、艺术界、娱乐界、网红界等领域的十余位付费太空游客。

首批穿越者太空游客已在发布会亮相:
• 101 号太空游客邱恒(智元机器人 CMO)
• 203 号太空游客谢萌(广州正佳集团 CEO)
• 304 号太空游客洪少淮(华侨企业家)
• 405 号太空游客岳路平(艺术家)
• 507 号太空游客刘百奇(星河动力 CEO)
• 608 号太空游客林小颜(旅美诗人林小颜)
• 709 号太空游客黄景瑜(演员)
• 810 号太空游客李立浧(中国工程院院士)
• 911 号太空游客金建荣(博主 @NASA爱好者)
• 1012 号太空游客王静(探路者品牌创始人)
• 1114 号太空游客李泽奇(成都富江工业创始人)
• 1215 号太空游客傅哲宽(启赋资本董事长)
• 1316 号太空游客小擎(众擎机器人 PM01)


🗒 标签: #商业载人航天 #穿越者
📢 频道: @GodlyNews1
🤖 投稿: @GodlyNewsBot
Google将于3月31日弃用Gemini 2.0 Flash和Gemini 2.0 Flash Lite

影响范围:Gemini APIGoogle AI Studio

🗒 标签: #Google #Gemini
📢 频道: @GodlyNews1
🤖 投稿: @GodlyNewsBot
Back to Top