📰 本频道不定期推送科技数码类新资讯,欢迎关注!
©️ 发布的内容不代表本频道立场,和你意见不一样的话欢迎在评论区留言表达,但请注意言辞,面斥不雅。
‼️ 关联群组定期清理不活跃成员和僵尸号,误封请联系管理员。
🔗 博客: https://yummy.best
💬 群组: @GodlyGroup
📬 投稿: @GodlyNewsBot
🪧 广告合作: @yummybest_bot.
©️ 发布的内容不代表本频道立场,和你意见不一样的话欢迎在评论区留言表达,但请注意言辞,面斥不雅。
‼️ 关联群组定期清理不活跃成员和僵尸号,误封请联系管理员。
🔗 博客: https://yummy.best
💬 群组: @GodlyGroup
📬 投稿: @GodlyNewsBot
🪧 广告合作: @yummybest_bot.
苹果可折叠iPad研发遇挫,发布时间至少被推迟至2029年
苹果推迟折叠屏iPad计划,发布时间可能从2028年推后至2029年、甚至更晚。该公司与三星显示合作开发用于iPad的18英寸面板。(彭博)
🗒 标签: #Apple #折叠屏
📢 频道: @GodlyNews1
🤖 投稿: @GodlyNewsBot
苹果推迟折叠屏iPad计划,发布时间可能从2028年推后至2029年、甚至更晚。该公司与三星显示合作开发用于iPad的18英寸面板。(彭博)
苹果对三星最新提供的显示屏样品非常满意。供应链人士称,苹果提出了极高的技术要求,不惜一切代价要消除折痕,目前已接近理想水平。
消息称该解决方案由苹果、三星和铰链供应商Amphenol三方合作才最终实现,其中Amphenol是苹果MacBook的铰链供应商。对于用户而言,大家最关心的是苹果折叠屏发布时间,从目前曝光的消息来看,苹果折叠屏最快会在明年亮相。
据悉,苹果计划在今年4月份确定供应商的具体名单,从确定供应商到发布上市,一般需要12—18个月的时间,按照这个时间推算,苹果折叠屏最快会在明年下半年登场。
via ZiRCON
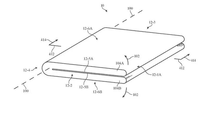
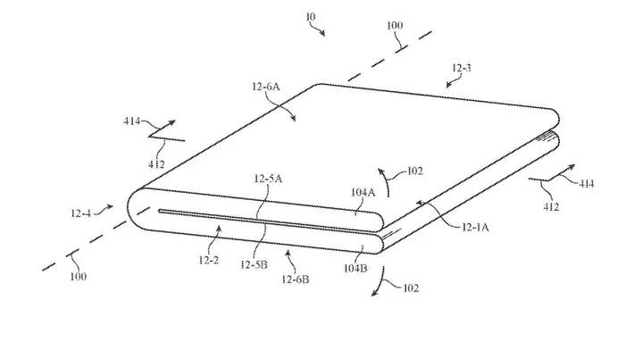
9 月 20 日消息,根据美国商标和专利局(USPTO)最新公示的清单,苹果公司获得了一项新的专利,构想了未来折叠 iPhone 的设计方案,包括固态按钮在内在所有表面实现触敏控制。
这项专利名为《带有显示屏和触摸传感器结构的电子设备》,用户可以通过轻触、滑动或其他方式来方便地控制 iPhone,其专利设计草图显示采用折叠式设计。
苹果表示:“从用户那里收集触摸输入并高效地向用户展示图像可能颇具挑战性。例如,当用户向触摸屏显示器提供触摸输入时,用户的手可能会遮挡显示器上正在显示的图像。”
因此苹果公司构想在设备所有表面实现具备触敏控制,内置控制电路、电池及其他组件,表面可以包含不透明部分与透明部分,材质包括不透明塑料、金属、纤维复合材料以及含有纤维、陶瓷和其他不透明材料的多层结构。
苹果公司在设备表面铺设细小的金属线(例如纳米结构,肉眼可能无法看到),从而在任意表面实现触敏控制。
曝苹果可折叠iPhone开发暂停:供应商屏幕未能通过测试
供应链传来消息,供应商屏幕未能通过测试,苹果公司决定暂停可折叠iPhone的开发。此前有消息称,苹果正在研发至少两款翻盖可折叠iPhone原型机,纵向折叠,可90度悬停。
据悉,早在 2018 年,苹果就开始探索折叠屏 iPhone 项目,但到 2020 年左右,该项目被搁置。苹果后又转而专注于研究向内折叠的 iPad,尺寸与 iPad mini 差不多。
该设备将有一个大约8英寸的屏幕,与手机相比,折叠屏iPad对耐用性的要求不那么严格。现在三星最新的折叠面板在苹果公司严格的内部测试下「几天后就崩溃了」,这导致苹果在可预见的未来将整个项目搁置。目前,暂停开发折叠 iPhone 的消息尚未得到苹果官方证实。
via 匿名
🗒 标签: #Apple #iPhone #折叠屏
📢 频道: @GodlyNews1
🤖 投稿: @GodlyNewsBot
供应链传来消息,供应商屏幕未能通过测试,苹果公司决定暂停可折叠iPhone的开发。此前有消息称,苹果正在研发至少两款翻盖可折叠iPhone原型机,纵向折叠,可90度悬停。
据悉,早在 2018 年,苹果就开始探索折叠屏 iPhone 项目,但到 2020 年左右,该项目被搁置。苹果后又转而专注于研究向内折叠的 iPad,尺寸与 iPad mini 差不多。
该设备将有一个大约8英寸的屏幕,与手机相比,折叠屏iPad对耐用性的要求不那么严格。现在三星最新的折叠面板在苹果公司严格的内部测试下「几天后就崩溃了」,这导致苹果在可预见的未来将整个项目搁置。目前,暂停开发折叠 iPhone 的消息尚未得到苹果官方证实。
via 匿名
来自The Information的一份新报告显示,该公司正在开发“至少两款”水平折叠的iPhone原型机,类似于三星的Galaxy Z Flip设备。
该设备不会在2024年或2025年的大规模生产计划中。据报道,尽管苹果公司想要制造一款可折叠的iPhone,在手机外部有显示屏,但the Information称工程师们在设计上“很纠结”,因为它很容易损坏。
此外,据报道,工程师们还希望开发出一款“与当前iPhone机型一样薄”的可折叠手机,但电池尺寸和显示组件使其成为一个挑战。据The Information报道,到目前为止,苹果已经与“至少一家”亚洲制造商就采购不同尺寸的可折叠iphone的零部件进行了谈判。
传言已久的苹果折叠式iPad也仍在研发中。据The Information报道,苹果正在研究开发一款与iPad Mini大小相同的可折叠平板电脑,屏幕为8英寸。据报道,研发这款产品的苹果工程师正在努力减少显示屏中心出现的折痕,并希望开发一种铰链,使显示屏在展开时能够平躺。
目前还不清楚苹果何时会发布一款可折叠iPad,但最近来自The Elec的一份报告显示,苹果正准备在2026年或2027年推出一款7或8英寸的设备。