苹果新专利探索折叠 iPhone 未来,任意表面实现触敏控制

9 月 20 日消息,根据美国商标和专利局(USPTO)最新公示的清单,苹果公司获得了一项新的专利,构想了未来折叠 iPhone 的设计方案,包括固态按钮在内在所有表面实现触敏控制。

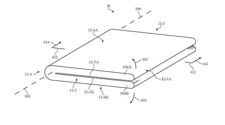
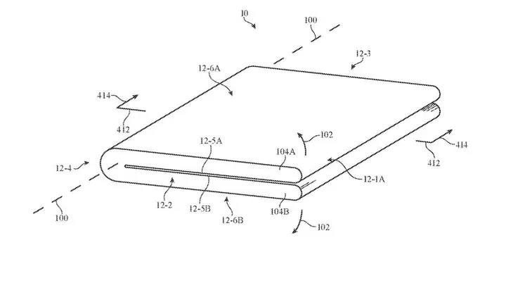
这项专利名为《带有显示屏和触摸传感器结构的电子设备》,用户可以通过轻触、滑动或其他方式来方便地控制 iPhone,其专利设计草图显示采用折叠式设计。

苹果表示:“从用户那里收集触摸输入并高效地向用户展示图像可能颇具挑战性。例如,当用户向触摸屏显示器提供触摸输入时,用户的手可能会遮挡显示器上正在显示的图像。”

因此苹果公司构想在设备所有表面实现具备触敏控制,内置控制电路、电池及其他组件,表面可以包含不透明部分与透明部分,材质包括不透明塑料、金属、纤维复合材料以及含有纤维、陶瓷和其他不透明材料的多层结构。

苹果公司在设备表面铺设细小的金属线(例如纳米结构,肉眼可能无法看到),从而在任意表面实现触敏控制。

🗒 标签: #Apple #折叠屏
📢 频道: @GodlyNews1
🤖 投稿: @GodlyNewsBot
 
 
Back to Top