📰 本频道不定期推送科技数码类新资讯,欢迎关注!
©️ 发布的内容不代表本频道立场,和你意见不一样的话欢迎在评论区留言表达,但请注意言辞,面斥不雅。
‼️ 关联群组定期清理不活跃成员和僵尸号,误封请联系管理员。
🔗 博客: https://yummy.best
💬 群组: @GodlyGroup
📬 投稿: @GodlyNewsBot
🪧 广告合作: @yummybest_bot.
©️ 发布的内容不代表本频道立场,和你意见不一样的话欢迎在评论区留言表达,但请注意言辞,面斥不雅。
‼️ 关联群组定期清理不活跃成员和僵尸号,误封请联系管理员。
🔗 博客: https://yummy.best
💬 群组: @GodlyGroup
📬 投稿: @GodlyNewsBot
🪧 广告合作: @yummybest_bot.
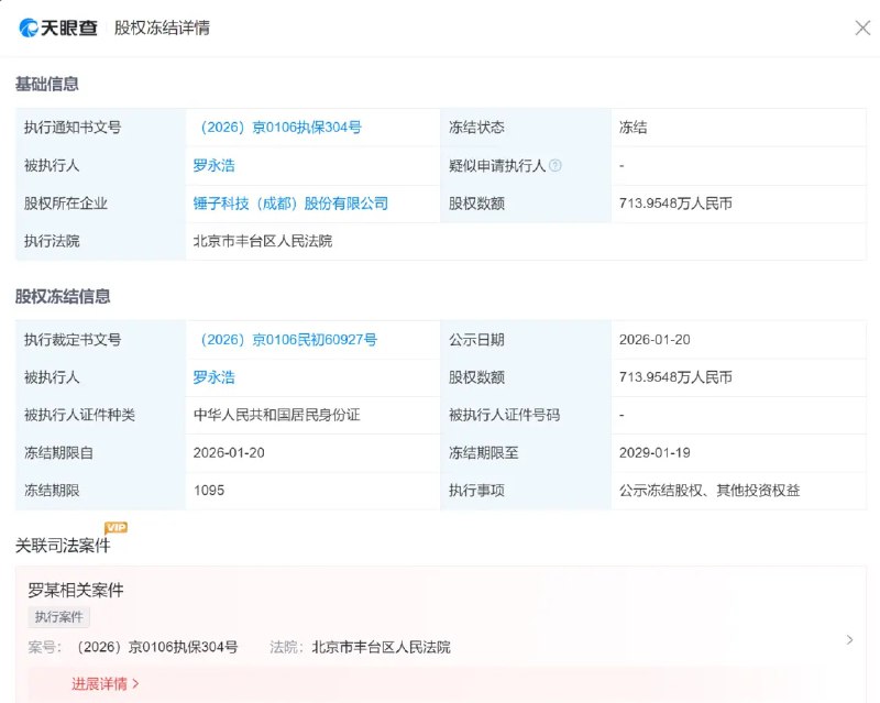
1月22日,天眼查信息显示,1月20日,罗永浩新增一则股权冻结信息,股权所在企业为锤子科技(成都)股份有限公司,冻结股权数额713万余元,冻结期限自2026年1月20日至2029年1月19日,执行法院为北京市丰台区人民法院。
via 𝒁𝒊𝑹𝑪𝑶𝑵
类似于新设备登录的提醒。
此前,缺乏通知会带来潜在的安全风险:不法分子可能会悄悄将自己的访问密钥添加到他人的账户中。
系统消息包含以下信息:
• Passkey 提供商(例如:
• 设备详情:应用版本、手机型号和操作系统。
• 添加密钥的位置。
• 检查活跃会话的指南。
重要安全注意事项:
• 通过“设置 › 设备”结束所有活跃会话后,新创建的访问密钥会自动随会话一起删除,同时会收到删除通知。
• 仅能在授权后 24 小时内添加安全密钥。
育碧官方发布了一份文件,公布了组织架构的重大重组。
新的运营模式将以5家创意工作室(Creative House)为核心,以期重新实现可持续增长。这轮调整除了发布新的路线图,还包括不少加速降本的举措,以及育碧将取消和延期多个项目,并关闭部分工作室。
文件显示,5个创意工作室中Vantage Studios已经成立,剩下4家创意工作室在文件中以数字标识。这5家创意工作室将各自负责一些细分方向、IP品牌和子工作室,并自负盈亏:
1号创意工作室,也就是Vantage Studios,专注于发展育碧麾下的重要IP,包括《刺客信条》《孤岛惊魂》《彩虹六号》;
2号创意工作室主攻竞技、合作射击项目,包括《全境封锁》《幽灵行动》《细胞分裂》;
3号创意工作室负责运营在线服务型项目,包括《荣耀战魂》《飙酷车神》《极限国度》《英灵乱战》《碧海黑帆》;
4号创意工作室主要创作沉浸式奇幻世界和剧情驱动项目,包括《纪元》《魔法门》《雷曼》《波斯王子》《超越善恶》;
5号创意工作室专注休闲及合家欢项目,包括《舞力全开》《采矿大亨》《饥饿鲨》《无敌少侠:守护地球》、Ketchapp、UNO、孩之宝。
新的架构将在今年4月上旬开始运营。育碧CFO弗雷德里克·杜盖在接受Gameindustry.biz采访时声称这是一次重大重启,希望这些创意工作室“在所处的每个细分领域都成为世界最佳”。
此轮调整还宣布了4个在研的新IP,但延期了7款游戏、取消了6个项目,取消的项目中包括了命途多舛的《波斯王子:时之沙》重制版。
而在育碧公布组织架构调整后,资本市场并不买账,反响消极。今日截至撰稿,育碧股价单日下跌超过30%,降至4.36欧元,市值为5.87亿欧元。这一股价远低于育碧2018年100欧元的历史顶点。
北京穿越者载人航天科技有限公司 1 月 22 日举行“下一站,太空:穿越者太空旅游全球发布会”,公布了其商业载人航天产品线规划,最早 2028 年载人首飞。
据穿越者此前消息,穿越者已开启船票预售,预售船票 300 万元 / 张,预付 10% 可锁定名额,目前已签约来自学界、商界、航天界、艺术界、娱乐界、网红界等领域的十余位付费太空游客。
首批穿越者太空游客已在发布会亮相:
• 101 号太空游客邱恒(智元机器人 CMO)
• 203 号太空游客谢萌(广州正佳集团 CEO)
• 304 号太空游客洪少淮(华侨企业家)
• 405 号太空游客岳路平(艺术家)
• 507 号太空游客刘百奇(星河动力 CEO)
• 608 号太空游客林小颜(旅美诗人林小颜)
• 709 号太空游客黄景瑜(演员)
• 810 号太空游客李立浧(中国工程院院士)
• 911 号太空游客金建荣(博主 @NASA爱好者)
• 1012 号太空游客王静(探路者品牌创始人)
• 1114 号太空游客李泽奇(成都富江工业创始人)
• 1215 号太空游客傅哲宽(启赋资本董事长)
• 1316 号太空游客小擎(众擎机器人 PM01)
https://www.whitehouse.gov/articles/2026/01/365-wins-in-365-days-president-trumps-return-marks-new-era-of-success-prosperity/
影响范围:Gemini API 及Google AI Studio
马斯克:特斯拉将在今年底、或明年向公众销售人形机器人
马斯克在达沃斯世界经济论坛表示:特斯拉将在2026年年底、或2027年向公众出售人形机器人Optimus。
人形机器人将在今年处理更加复杂的任务。
我们希望,今年证明星舰(Starship)完整的可重复使用性。
在太空部署光伏(发电支持的)AI数据中心“是稳赚不赔的买卖(no brainer)”。
最近2-3年,最廉价的部署AI目的地是在太空。
🗒 标签: #马斯克 #特斯拉
📢 频道: @GodlyNews1
🤖 投稿: @GodlyNewsBot
马斯克在达沃斯世界经济论坛表示:特斯拉将在2026年年底、或2027年向公众出售人形机器人Optimus。
人形机器人将在今年处理更加复杂的任务。
我们希望,今年证明星舰(Starship)完整的可重复使用性。
在太空部署光伏(发电支持的)AI数据中心“是稳赚不赔的买卖(no brainer)”。
最近2-3年,最廉价的部署AI目的地是在太空。
该诉状在迈阿密-戴德县州法院提交,指控该银行犯有商业诽谤和违反善意与公平交易的默示契约。诉状还称戴蒙违反了佛罗里达州的不公平与欺骗性贸易行为法。摩根大通并未立即回电置评。
苹果计划将Siri重塑为内置聊天机器人,以反击OpenAI
苹果公司计划在今年晚些时候对 Siri 进行重大改组,将其转型为公司首款人工智能聊天机器人,项目代号为“Campos”。
该机器人将深度嵌入 iPhone、iPad 和 Mac 操作系统中,并取代现有的 Siri 界面。
用户依然可以通过语音指令“Siri”或长按设备侧边键来唤醒这项新服务。
这种新方案的能力将远超目前的 Siri,其功能包括:分析屏幕内容、调用个人数据、搜索网页、创作内容、生成图像、总结信息以及分析上传的文件。
🗒 标签: #Apple #Siri
📢 频道: @GodlyNews1
🤖 投稿: @GodlyNewsBot
苹果公司计划在今年晚些时候对 Siri 进行重大改组,将其转型为公司首款人工智能聊天机器人,项目代号为“Campos”。
该机器人将深度嵌入 iPhone、iPad 和 Mac 操作系统中,并取代现有的 Siri 界面。
用户依然可以通过语音指令“Siri”或长按设备侧边键来唤醒这项新服务。
这种新方案的能力将远超目前的 Siri,其功能包括:分析屏幕内容、调用个人数据、搜索网页、创作内容、生成图像、总结信息以及分析上传的文件。
特朗普称与北约达成格陵兰协议“框架”、暂不对欧加关税,美股拉升,白银跳水
美东时间21日周三,特朗普宣布,已与北约秘书长吕特就格陵兰岛问题达成协议框架,由此暂缓始于2月1日生效的对欧洲国家加征计划。据新华社报道,特朗普在瑞士达沃斯与吕特会晤后称,暂时不会按原定计划向反对美国得到格陵兰岛的欧洲八国加征关税。
特朗普在社交媒体上发文表示,基于与吕特“非常富有成效的会晤”,双方已就格陵兰岛乃至整个北极地区形成了“未来协议框架”。他称这一解决方案如果最终达成,将对美国和所有北约国家“都大有裨益”。
🗒 标签: #格陵兰岛
📢 频道: @GodlyNews1
🤖 投稿: @GodlyNewsBot
美东时间21日周三,特朗普宣布,已与北约秘书长吕特就格陵兰岛问题达成协议框架,由此暂缓始于2月1日生效的对欧洲国家加征计划。据新华社报道,特朗普在瑞士达沃斯与吕特会晤后称,暂时不会按原定计划向反对美国得到格陵兰岛的欧洲八国加征关税。
特朗普在社交媒体上发文表示,基于与吕特“非常富有成效的会晤”,双方已就格陵兰岛乃至整个北极地区形成了“未来协议框架”。他称这一解决方案如果最终达成,将对美国和所有北约国家“都大有裨益”。
根据 Droidwin,OnePlus 在部分机型上随基于 Android 16 的 ColorOS 16.0.3.500/.501/.503 更新悄悄加入了防回滚保护(ARB)。
正如报道所述,ARB 通过主板上的电子熔丝(e-fuse)被点亮来更新设备的安全版本。一旦触发,就无法通过软件恢复,唯一的办法是更换主板。
ARB 是 Android 验证启动(Verified Boot)框架的一部分,用来防止把系统降级到更旧、更不安全的固件。小米、POCO、Redmi、Google 等厂商的设备多年来一直采用 ARB。这种保护机制与三星的 Knox 类似:在三星手机上解锁 bootloader 会触发“保险丝”警告。不过和 ARB 严格的处理不同,三星通常只是阻止解锁过程,通常不会把手机完全变砖。
欧洲议会宣布无限期冻结欧美贸易协定审议工作
当地时间21日,欧洲议会国际贸易委员会主席朗格宣布,针对欧盟与美国贸易协定的审议将无限期冻结。
朗格表示,当天欧洲议会谈判团队决定,暂停欧洲议会国际贸易委员会就欧美贸易协定的审议工作。朗格称,目前欧盟的主权和领土完整正面临威胁,在这种情况下无法照常开展相关工作。
🗒 标签: #格陵兰岛
📢 频道: @GodlyNews1
🤖 投稿: @GodlyNewsBot
当地时间21日,欧洲议会国际贸易委员会主席朗格宣布,针对欧盟与美国贸易协定的审议将无限期冻结。
朗格表示,当天欧洲议会谈判团队决定,暂停欧洲议会国际贸易委员会就欧美贸易协定的审议工作。朗格称,目前欧盟的主权和领土完整正面临威胁,在这种情况下无法照常开展相关工作。
特朗普:不会武力夺取格陵兰岛,正寻求立即就收购格陵兰岛事宜展开谈判
据新华社报道,美国总统特朗普21日在瑞士达沃斯举办的世界经济论坛年会上说,不会以武力夺取格陵兰岛。
另据央视报道,特朗普表示,正寻求立即就收购格陵兰岛事宜展开谈判。格陵兰岛位于北美洲东北方,是丹麦自治领地。美国总统特朗普多次扬言要得到格陵兰岛,并声称不排除动用武力的可能性。对此,丹麦等欧洲国家强烈反对。
🗒 标签: #格陵兰岛
📢 频道: @GodlyNews1
🤖 投稿: @GodlyNewsBot
据新华社报道,美国总统特朗普21日在瑞士达沃斯举办的世界经济论坛年会上说,不会以武力夺取格陵兰岛。
另据央视报道,特朗普表示,正寻求立即就收购格陵兰岛事宜展开谈判。格陵兰岛位于北美洲东北方,是丹麦自治领地。美国总统特朗普多次扬言要得到格陵兰岛,并声称不排除动用武力的可能性。对此,丹麦等欧洲国家强烈反对。
拼多多旗下Temu土耳其办公室遭遇“黎明突袭”
记者从拼多多获悉,当地时间1月21日上午,旗下跨境电商平台Temu土耳其办公室遭遇“黎明突袭”。
这是自去年12月2日Temu爱尔兰都柏林办公室遭遇“黎明突袭”后,在时隔紧一个多月后再次在欧洲遭遇“黎明突袭”。据悉,Temu土耳其当地办公室被抄家,员工均被传询。
拼多多方面表示,事发突然,没有任何提前预知,但将积极配合土耳其官方部门的调查,对公司在土耳其的合规经营有信心。
🗒 标签: #拼多多 #Temu
📢 频道: @GodlyNews1
🤖 投稿: @GodlyNewsBot
记者从拼多多获悉,当地时间1月21日上午,旗下跨境电商平台Temu土耳其办公室遭遇“黎明突袭”。
这是自去年12月2日Temu爱尔兰都柏林办公室遭遇“黎明突袭”后,在时隔紧一个多月后再次在欧洲遭遇“黎明突袭”。据悉,Temu土耳其当地办公室被抄家,员工均被传询。
拼多多方面表示,事发突然,没有任何提前预知,但将积极配合土耳其官方部门的调查,对公司在土耳其的合规经营有信心。
安倍晋三遇刺案被告山上彻也被判处无期徒刑
据日本广播协会报道,日本奈良地方法院21日就日本前首相安倍晋三遇刺案作出判决,被告山上彻也被判处无期徒刑。
2022年7月8日,安倍在奈良市街头为自民党参议员候选人助选时遭枪击,经抢救不治身亡,终年67岁。嫌疑人山上当场被捕。
🗒 标签: #安倍晋三
📢 频道: @GodlyNews1
🤖 投稿: @GodlyNewsBot
据日本广播协会报道,日本奈良地方法院21日就日本前首相安倍晋三遇刺案作出判决,被告山上彻也被判处无期徒刑。
2022年7月8日,安倍在奈良市街头为自民党参议员候选人助选时遭枪击,经抢救不治身亡,终年67岁。嫌疑人山上当场被捕。
再创历史!中国U23男足首次晋级亚洲杯决赛
北京时间21日凌晨,U23男足亚洲杯半决赛结束,中国队3-0战胜越南队,历史首次晋级决赛!(央视)
🗒 标签: #男足
📢 频道: @GodlyNews1
🤖 投稿: @GodlyNewsBot
北京时间21日凌晨,U23男足亚洲杯半决赛结束,中国队3-0战胜越南队,历史首次晋级决赛!(央视)
美国政府首次回应“斩杀线困境”:上届政府的锅”
当地时间1月20日,美国财政部长贝森特在世界经济论坛年会现场举办公开活动。谭主在现场问了贝森特对“斩杀线”的看法,美国财长称“斩杀线是上届政府的锅”。(玉渊谭天)
🗒 标签: #世界经济论坛
📢 频道: @GodlyNews1
🤖 投稿: @GodlyNewsBot
当地时间1月20日,美国财政部长贝森特在世界经济论坛年会现场举办公开活动。谭主在现场问了贝森特对“斩杀线”的看法,美国财长称“斩杀线是上届政府的锅”。(玉渊谭天)
小红书官方正式上线《社区公约2.0》,明确提出反对制造对立,并将其作为社区治理的重中之重。新版公约将原《社区公约》与《商业公约》合并,划分为真诚分享、友好互动、有序经营三大板块,共25条倡导。